|
|
 |
嘉善昶达无油滑动轴承厂
JIASHAN CHANGDA OILLESS&SLIDING BEARING FACTORY
联系人:李忠成
手机:(0)13656620551
网址:http://www.cdbushing.com
邮箱:571245784@qq.com
Q Q:571245784
地址:浙江省嘉善县干窑镇长丰经济开发区(窑洪公路518号)
|
|
产品展示 |
| JNA |
| 发表时间:2019-1-12 文字 〖 大 中 小 〗 阅读次数:10037 [关闭窗口] |
|
|
 |

】
|
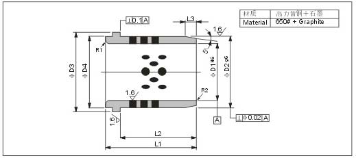
技术参数
|
|
Standard No.
规格
|
D1
|
H6
|
D2
|
G6
|
D3
|
D4
|
L1
|
L2
|
L3
|
R1
|
|
JNA32X50
|
32
|
+0.016
-0
|
40
|
-0.009
|
50
|
40
|
50
|
40
|
4
|
3
|
|
JNA40X63
|
40
|
50
|
-0.025
|
63
|
50
|
63
|
50
|
5
|
3
|
|
|
50
|
63
|
-0.010
|
71
|
63
|
71
|
56
|
6
|
5
|
|
JNA63X80
|
63
|
+0.019
-0
|
80
|
-0.029
|
80
|
80
|
80
|
63
|
8
|
6
|
|
|
80
|
100
|
-0.012
-0.034
|
100
|
100
|
100
|
80
|
10
|
8
|
|
|
100
|
+0.022
-0
|
125
|
0.014
|
125
|
125
|
125
|
106
|
12
|
10
|
|
JNA115X140
|
115
|
140
|
.0.39
|
140
|
140
|
140
|
120
|
12
|
10
|
|
|
|
|
文章分页:1
|
上一篇文章:JTW 固体润滑轴承标准公制尺寸
下一篇文章: JOPW,JOPF,JOPS
|
|
|
|